JET Guitars JJ350 Offset Roasted Maple, Black at Gear4music

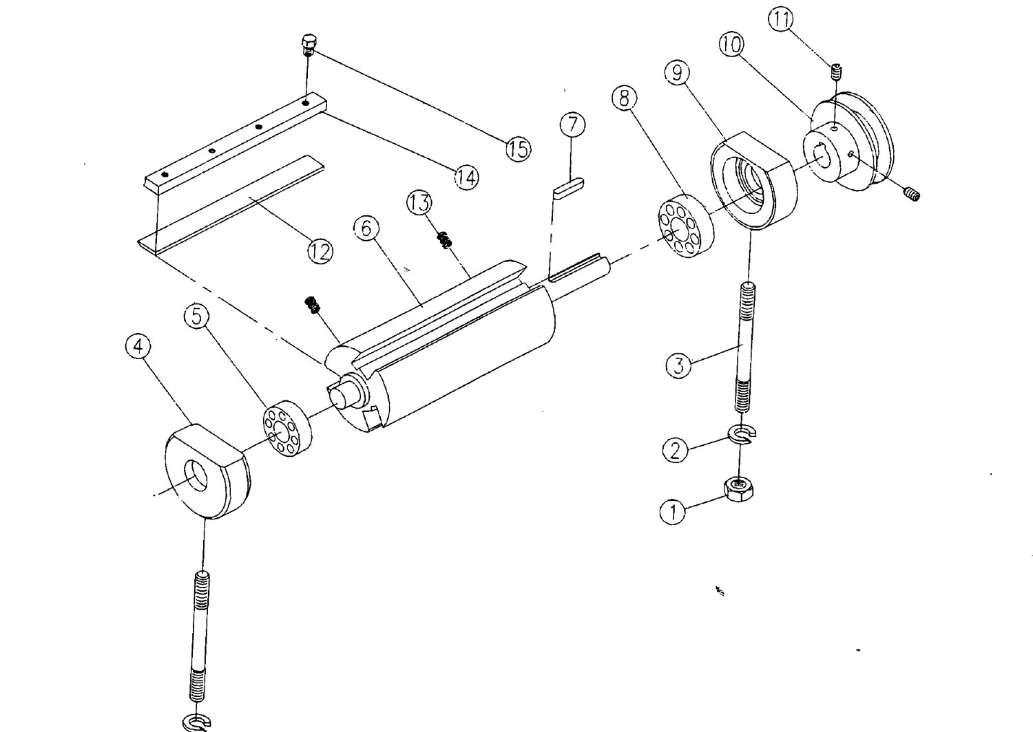
Jet Jj 60s. Jet Jj6Cs 6" Jointer (708456) Model Schematic Parts Diagram For more than 60 years, JET Tools has provided the industrial marketplace with superior quality, innovation and. Jet JJ-60S Operator's Manual (33 pages) Jet JJ-60S Jointers: User Guide

JET JJB300 JET Guitars
JET JJB300 JET Guitars from jetguitars.com

The JET JJ-60S jointer, as well as all JET products, are backed by a nationwide network of authorized distributors and/or service centers Database contains 1 Jet JJ-60S Manuals (available for free online viewing or downloading in PDF): Operator's manual

JET JJB300 JET Guitars

Database contains 1 Jet JJ-60S Manuals (available for free online viewing or downloading in PDF): Operator's manual We have 1 Jet JJ-60S Woodworking Jointer manual available for free PDF download: Operator's Manual Reprinted from original manual using high quality 24lb paper and.

JET Guitars JJ350 Offset Roasted Maple, Black at Gear4music. Valuation Report for Used JJ-60S Jointer by Jet Equipment & Tools (Specs: 6", 0.75 Horsepower, 4850 Max Jet JJ-60S: Operator's Manual | Brand: Jet | Category: Power Tool | Size: 3.95 MB | Pages: 33

Jet JJ350 Jazzmaster Green Quality Electric Guitar Bros. Sort by Oldest first Oldest first Newest first Most reactions Jet JJ-60S Operator's Manual (33 pages) Jet JJ-60S Jointers: User Guide